Питание от одного аккумулятора?

Modris
Predator:

А если подробнее??? Где можно его увидеть, а может реально самому сделать??? 😊

posmotri opisanjije na LM2940 1A LOW DroopOUT linear Voltage regulator

BALAL
Predator:

Товарищи, кто пробывал питать на модели от одного аккумулятора и аппаратуру но существует проблема движок и аккумулятор 7.4 вольта…

Оп-па!! Если есть двигатель и аппаратура, то должен быть регулятор??? А в стандартном регуляторе и есть встроенный регулятор, который даёт на приёмник и машинки необходимое напряжение… А вы что, без регулятора делаете??

Predator

Я вас не понимаю" регулятор в регуляторе"??? Регулятор у меня самодельный и он питается от 6 вольт приемника , а движок через регулятор от аккумулятора 7.4 вольта!!! Разъясните чтоб я понял вас!!! В таких вещах, не краткость сестра таланта!!! 😁

voraks

Попробую тепарь я пояснить. Электронная начинка которая стоит на модели состоит из:
-приемника
-регулятора
-сервомеханизмов
-электродвигателя и батареи питания.
Питание от батареи подается на регулятор хода. далее напряжение с него поступает на двигатель, а через, так называемый ВЕС разьем, на приемник. При этом питание подаваемое на регулятор может быть от 4,8 и белее вольт (зависит от регулятора). А напряжение на разъеме ВЕС регулятора всегда одинаково - 5В (сугубо для питаня приемника и серв). И при этом приемник и сервы у Вас не сгорят.
Надеюсь пояснил доступно 😃
А теперь поясните какая у вас аппаратура и как вы ее подключаете.

BALAL
Predator:

Я вас не понимаю" регулятор в регуляторе"???

Сорри, совершил оговорку… В регуляторе должен находится стабилизатор напряжения, что сообщил - уточнил voraks.

qwert
Modris:

posmotri opisanjije na LM2940 1A LOW DroopOUT linear Voltage regulator

LM2940 только на 5 вольт есть. Подскажите пожалуйста какой-нибудь стабилизатор на 6 вольт с малым падением напряжения. Пробовал L7806, но падение напряжения на ней большое (где-то 1,4 вольта)- при просевшем аккумуляторе напряжение на ВЕС сильно падает, серва вообще не рулит.
Спасибо.

BALAL
qwert:

Подскажите пожалуйста какой-нибудь стабилизатор на 6 вольт с малым падением напряжения.

На “рассыпухе” можно сделать… Чуть позже схемку могу подкинуть… 😎

qwert
BALAL:

На “рассыпухе” можно сделать… Чуть позже схемку могу подкинуть… 😎

Было бы здорово.

BALAL

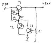
Ну вот, например… С учётом использования современных мелких транзисторов и др. элементов - небольшая… Т1 - на соответствующие ток - мощность, r1 сопротивлением 1-100 ком, им устанавливается выходное напряжение (стабилизации).
Отсутствует защита по превышению тока, но можно пределать последовательным резистором по входу…
…Ах, да! именно малое падение напряжение и должно быть преимуществом данного стабилизатора!

qwert

Спасибо,но собирать пока лень. А может кто готовую микруху подскажет на 6 вольт с малым падением и током 1А? Можно даже 0,5А.

Какие, интересно, стабилизаторы стоят в фирменных регуляторах с ВЕС на 6В? 😋

С уважением.

Predator

Приветствую всех!!! 😃 У меня вот такая ситуация: аккумулятор 7.4 вольта 2100 мАч
двигло 7.4 вольта
аппаратура Ranger 2N питание приемника 6вольт
Вот и думаю какую бы схемку и где найти???

qwert
Predator:

Приветствую всех!!! 😃 У меня вот такая ситуация: аккумулятор 7.4 вольта 2100 мАч
двигло 7.4 вольта
аппаратура Ranger 2N питание приемника 6вольт
Вот и думаю какую бы схемку и где найти???

Купи микросхему L4941BV с малым падением. С виду похожа на транзистор(корпус ТО220). На левую ногу (если смотреть спереди где надписи и держать ее ногами вниз) подай плюс от аккумулятора, на среднюю минус от аккумулятора. Тогда с правой ноги снимешь +5В для приемника, а минус для приемника возьми прямо с минуса аккумулятора. Напряжение питания на приемнике будет 5В а максимальный ток 1А. Еще бы хорошо конденсаторов добавить, как здесь

rcscomponents.kiev.ua/modules/…/L4941.pdf

19 days later
qwert
qwert:

Спасибо,но собирать пока лень. А может кто готовую микруху подскажет на 6 вольт с малым падением и током 1А? Можно даже 0,5А.

Какие, интересно, стабилизаторы стоят в фирменных регуляторах с ВЕС на 6В? 😋

С уважением.

Нашел микросхему более менее подходящую - КР1158ЕН6Г,Описание падение не велико, вот только ток 0,5А.
Подскажите пожалуйста, можно такие две микрухи в параллель поставить для увеличения тока? Благодарю.

PAHHA
qwert:

Нашел микросхему более менее подходящую - КР1158ЕН6Г,Описание падение не велико, вот только ток 0,5А.
Подскажите пожалуйста, можно такие две микрухи в параллель поставить для увеличения тока? Благодарю.

Хотел дать ссылку на применение КРЕНок но чтото она нормально не работает. Вот файлик, там скачанная когда-то страница по стабилизаторам, есть и схемка как навесить внешний транзистор для “умощнения”.

kren.ZIP

qwert
PAHHA:

Хотел дать ссылку на применение КРЕНок но чтото она нормально не работает. Вот файлик, там скачанная когда-то страница по стабилизаторам, есть и схемка как навесить внешний транзистор для “умощнения”.

Да схемку видел, но падение на транзисторе(КТ816А) не будет большое? Извеняюсь за возможно нелепый вопрос - в электронике слабоват.
Может вместо него полевик n-p-n засунуть как нибудь можно, например IRL3803- у него малое падение и дома валяется.?

BALAL
qwert:

Да схемку видел, но падение на транзисторе(КТ816А) не будет большое? Извеняюсь за возможно нелепый вопрос - в электронике слабоват.

Ожидаемое примерно 0,5 В минимум (В отличии от декларируемых 2,5 В для ЕНки…)
По идее, можно 816 заменить на полевик соответствующий (слабоват в их ассортименте)… Возмозно возбуждение (генерация), которое, очень вероятно, можно побороть ёмкостью с массы на затвор (базу) ключевого транзистора…

dmitryu

А если взять пятивольтовую LM2940 и пару резисторов добавить, чтобы 6В получилось?

Вот стандартная для этого случая схема

BALAL

Для интегральных стабилизаторов есть такое понятие, как минимально допустимое падение напряжения. Т.е. входное напряжение должно превышать выхолное на величину не менее данного значения. Иначе схема будет работать неустойчиво, тем более не в совсем стандартном включении, и не обеспечивать ожидаемого выходного напряжения…

dmitryu

У LM2940 падение 0,5В при токе 1А.
Соответственно, она будет нормально работать при напряжении выше 6,5В.
Если напряжение будет ниже - просто уменьшится выходное. В чём проблема-то?

PAHHA
qwert:

Да схемку видел, но падение на транзисторе(КТ816А) не будет большое? Извеняюсь за возможно нелепый вопрос - в электронике слабоват.
Может вместо него полевик n-p-n засунуть как нибудь можно, например IRL3803- у него малое падение и дома валяется.?

Падение на транзисторе будет равно разнице между входным напряжением и выходным, в этом и заключается роль стабилизатора. И замена транзистра здесь не поможет ведь все рассматриваемые здесь стабилизаторы компенсационного типа - все “лишнее” напряжение греет транзистор или сам стабилизатор (а точнее силовой транзюк в его схеме). Ну а если всетаки интересно то из наших транзисторов вроде самое низкое напряжение насыщения у КТ835 - 0.35В (по справочнику). Только повторюсь это полезно лиш на стабилизаторах с ШИМ и подобных.

qwert
dmitryu:

А если взять пятивольтовую LM2940 и пару резисторов добавить, чтобы 6В получилось?

Вот стандартная для этого случая схема

Этот вариант постораюсь попробовать.
Видел схемку, где под ногу идущую на массу стабилитрон подставляют на соответствующую разницу напряжения. Вот только думаю бывают ли стабилитроны на 1В? Или может цепочку из диодов?