биплан для обучения, для боя, для фпв

шекет

Да не , у меня ответственные места это весь ероплан 😃 как порвется потом заново переделывать не я сразу закатываю весь(пройденный этап) стапель у меня доска гладильная и то воняет Им клеем и т.д. и т.п. , какие КРАСКИ

dilan

Алексей, а можно еще размеры крыльев верхнего и нижнего(хорду ) для размаха 820 мм, вроде как нижнее меньшего размера… ну и смещение верхнего относительно нижнего.
Размеры стаба и расстояние между балками.
А еще про угол между консолями не спросил… У меня сыну 8 лет, хочет сам модель делать.Вот я и подумал, что в самый раз самик будет, винт толкающий ну и без элеронов пока ему.
У меня есть свободная электроника от цессны/слойки , как думаете пойдет на этот размер ?

Еще на магнум засматриваюсь, но магнум с тянущим винтом - разорюсь на пропеллерах по началу.

Я как раз искал модель для совсем новичка , да еще и быстросборную, а то малым надо все и сразу 😃

шекет

Не совсем быстро он собирается , пока все слои склеиш -просохнет, также крыло без приспособы склеить выгнуть одинаково и подрезать под углом для склейки. Помоему Метроида вам с сыном попроще сделать, хотя сами решайте.

dilan

Да, про Метроид я и забыл совсем… Но биплан то посимпотичней выглядит 😃 Потом Метроид без элеронов кажись не прикольно будет, а у этого v крыла есть

старик-хо
dilan:

… Но биплан то посимпатичней выглядит

К тому же взлетать и садиться можно на пузо, без шасси, а если поплавки сделать то и на воду. Отличная модель для совсем новичка и ребенка если его тянет к моделям. У меня дочке 12 лет, иногда летает на симуляторе, хочу для неё такой бипланчик сделать и подкинуть летом в деревню на каникулах, может заинтересуется…
Спасибо Алексей за модель, к просьбе Дмитрия присоединяюсь, уточни размеры крыльев, оперения…
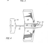
Сделал такой рисунок открой в Paint, проставь размеры.

шекет
dilan:

Да, про Метроид я и забыл совсем… Но биплан то посимпотичней выглядит 😃 Потом Метроид без элеронов кажись не прикольно будет, а у этого v крыла есть

Красивый быстро разбитый может оттолкнуть от авиамоделизма, например на моем Метроиде был и угол V и элероны, самое главное я сделал крыло на резинке и при краше оно отлетало,но оставалось целое и приемник стоял под углом так чтобы провод от сервы выскакивал, короче надо творчески подходить

ZAMolet

Я смотрю тема оживилась. Тут вспомнил, еще один биплан-игрушку, ну он двух винтовой, а я его пробовал на одном бесколлекторнике. Делал в двух размерах, точно не помню что то около 35-40см и около 1метра, летали оба сносно , но хуже чем предложенный мной биплан. Наверное из за балок которые создают некий квадратный “туннель” этот биплан летает устойчивее и ровнее. Навсякий случай может кто поиграется, вот чертежик, кстати нарыл не так давно, у меня был хуже.

старик-хо:

Сделал такой рисунок открой в Paint, проставь размеры.

Обязательно сделаю, Сергей спасибо за чертеж.

dilan:

У меня есть свободная электроника от цессны/слойки , как думаете пойдет на этот размер ?

Смотря что за цессна, какая тяга у этой системы или какой был полетный вес цессны.
Если предполагается на таком биплане учится летать в одиночку, то лучше конечно сделать поменьше, полегче, крашей меньше будет, этот все таки можно приложить что надломится. А вот маленький я делал, вот это да, сломать умудрится надо.
Ну а размеры проставлю на чертеже.

шекет:

при краше оно отлетало,но оставалось целое

Часто при ударе крылом, слетает не вперед, а назад и соответственно рубится винтом, поэтому этот вариант с толкающим винтом как бы думаю не очень. Все таки наталкиваю на идею, такого биплана и сделанного из материала типа туристического коврика. Из такого материала я делал самолетик правда другого плана.[video]пенолет СУ-26 из туристического коврика

www.youtube.com/watch?v=B37mEq32a18&feature=player…

сломать резину не реально, проблема только в том что на морозе немного ведет этот материал.

шекет

У меня за все время пользования Метроида ниразу винтом не рубило крыло, так и отдал в рабочем состоянии и шасси на него поставил, до сих пор пользуют. Но нравятся мне бипы!

ZAMolet

Перемерил биплан, размеры поставил в чертеже, кое что изменил и добавил.

dilan

Вот спасибо ! Теперь можно делать 😃

ZAMolet
dilan:

Теперь можно делать

Фото процесса не забываем, интересно. Да и свежие мысли, значит свежие идеи, и другой подход, ведь нет предела совершенству.

dilan

Ну конечно, как только, так сразу 😃 Движек у меня под это дело выделен народный 2205 1400кв, тягой примерно 400-500г в зависимости от батарейки/винта
Вот теперь осталось с размером определиться… Думаю в оригинальном размере вполне потянет…

А киль с рулем высоты один для простоты ? 2 на балках не лучше будет ?

шекет

Вот процесс медленно продвигается, вчера при врезке нижнего крыла в фюз малость пролетел-видимо при увеличивании чертежа накосячил: балки прикрепленные к верхнему крылу и фюзу выгоняют нижнее крыло под винт, так что обращайте внимание при сборке.

dilan:

Ну конечно, как только, так сразу 😃 Движек у меня под это дело выделен народный 2205 1400кв, тягой примерно 400-500г в зависимости от батарейки/винта
Вот теперь осталось с размером определиться… Думаю в оригинальном размере вполне потянет…

А киль с рулем высоты один для простоты ? 2 на балках не лучше будет ?

На двух балках нужно серву втыкать прямо в элеватор чтоб шевелить оба руля а это в свою очередь увеличивает заднюю центровку - от которой мы уходим

dilan
шекет:

На двух балках нужно серву втыкать прямо в элеватор

Да зачем, можно рули тягой соединить между собой, как в гидрошняге например. Тогда сервы вообще можно в начале балок разместить итяги вдоль балок пустить.
Тут скорее другой вопрос, центральный киль с рулем всегда в потоке от винта, значит рулит хорошо. А вот 2 по бокам фиг знает…

шекет

Делал я дистанционно почти у крыла серва стояла, все эти тяги в итоге люфтят и пару некультурных посадок дают о себе знать вялым управлением, да и обдув не ахти.

dilan
шекет:

да и обдув не ахти.

Вот это ключевое ! Бум делать по чертежам оригинала ! Осталось с размером определиться , не великоват ли будет для движка 2205 размах в 820мм ?
Цессну 150 из раздела новичков таскал на 2х банках вяловато,на 3х бодрячком . Кессла тоже таскает бодро на 3х банках.

ZAMolet

Артур прав по поводу двух рулей, не надо. Я проводил эксперименты с этим бипланом, эффекта ноль, одни минусы. Вот это расположение выверено экспериментами. Это жесткость рулевых тяг, люфты и т.д. Неплохо бы использовать легкие сервы.

dilan:

не великоват ли будет для движка 2205 размах в 820мм ?

Как бы летать будет, но неплохо когда есть запас по тяге. При таком двигателе я бы наверное смаштабировал под 650-700мм, но тут надо взвесить электрооборудование и оценить вес тушки биплана. Желательно бы чтобы хотя бы тяга =полетному весу. И лучше даже что бы тяга превышала. Ведь захочется же петлю крутануть 😃
Воспользуйтесь программой пропостер, хорошая вешь, под любой размер из листов А4.

dilan

Алексей спасибо ! Думаю смасштабировать модель именно до 650мм , хоть самик и для сына планируется, но проще расход по газу зажать, чем с недостатком тяги учить стартовать !

ZAMolet
dilan:

проще расход по газу зажат

Или винт меньше поставить, преимущество при краше, а если крашей не будет, то просто будет дольше летать.

ZAMolet
шекет:

балки прикрепленные к верхнему крылу и фюзу выгоняют нижнее крыло под винт, так что обращайте внимание при сборке.

Честно сказать немного непонял. Каким образом и что это могло получиться. Если что, то в нижнем крыле я делал вырез, но это больше для того что бы не мешало при скольжении.

шекет

Я же увеличил верхнее размах 90,нижнее 85, ширина 20 вроде и фюз с балками увеличил ,но нижнее если по чертежу прикладывать попадает под винт (будет 9/6)