Спасибо что ответили.
Открыть файл не получается у меня 14-я версия.
Минимально у себя нашел 15-ю катю.
Может Вам постарше версию поискать, а то она у Вас какая-то немножко древняя?
Минимально у себя нашел 15-ю катю.
Может Вам постарше версию поискать, а то она у Вас какая-то немножко древняя?
Извиняюсь, что не отвечал - качал 17-ю Катю 😃
В теории вроде все понятно, на практике так и не нашел в какой менюшке\тулбаре есть команда “use_edges”.
Ну вот, нервюры в КАТЕ вроде получились, а как теперь их распечатать?
Все кривые и наклонные линии получаются неровными.
Как сделать так, что бы при печати кривые были плавными, а наклонные линии не состояли из отрезков?
Люди!
Не дайте умереть мечте. Посоветуйте как распечатать детали так, что бы кривые линии были плавными кривыми, а не состояли из кучи прямых линий. Крыло сделал а дальше застрял.
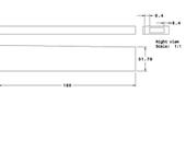
Чертежи пока получаются вот такие.
{"assets_hash":"a8b26fa7f6e768b07a72c8c9aadb9422","page_data":{"users":{"402cff793df955007779516e":{"_id":"402cff793df955007779516e","hid":2884,"name":"dimik","nick":"dimik","avatar_id":null,"css":""},"47de920d3df955007777cb23":{"_id":"47de920d3df955007777cb23","hid":32592,"name":"no_name","nick":"no_name","avatar_id":null,"css":""}},"settings":{"can_see_ip":false,"can_report_abuse":false,"can_see_hellbanned":false,"forum_can_view":true,"forum_can_reply":false,"forum_edit_max_time":30,"forum_can_close_topic":false,"forum_show_ignored":false,"forum_mod_can_delete_topics":false,"forum_mod_can_hard_delete_topics":false,"forum_mod_can_see_hard_deleted_topics":false,"forum_mod_can_edit_posts":false,"forum_mod_can_pin_topic":false,"forum_mod_can_edit_titles":false,"forum_mod_can_close_topic":false,"can_vote":false,"forum_mod_can_add_infractions":false,"forum_topic_title_min_length":10,"forum_reply_old_post_threshold":30,"votes_add_max_time":168,"forum_show_post_interval":7,"can_see_deleted_users":false},"section":{"_id":"61c9a54c3df9550077bb50ba","hid":8,"title":"Самодельная электроника, компьютерные программы","parent":"61c9a54c3df9550077bb50f3","description":"Софт для моделирования и черчения, самодельные электронные устройства.","is_category":false,"is_votable":true,"is_writable":true,"cache":{"topic_count":2668,"post_count":48285,"last_post":"69396824b4761b70be1cf1f6","last_topic":"6936752c44153b3865eede83","last_topic_hid":572669,"last_topic_title":"Последовательность работы сервоприводов.","last_ts":"2025-12-10T12:31:32.140Z","last_user":"4f3e22e13df955007774805c"}},"topic":{"_id":"47deaf2a3df9550077b1f029","hid":94628,"title":"CATIA - несколько вопросов.","views_count":3817,"last_post_counter":10,"cache":{"post_count":10,"first_post":"47deaf2a3df9550077b1f613","first_ts":"2008-03-17T17:49:30.000Z","first_user":"47de920d3df955007777cb23","last_post":"4856ef163df9550077b1f625","last_post_hid":10,"last_ts":"2008-06-16T22:54:14.000Z","last_user":"47de920d3df955007777cb23"},"st":1,"section":"61c9a54c3df9550077bb50ba"},"subscription":null,"pagination":{"total":10,"per_page":25,"chunk_offset":4},"posts_list_before_post":["paginator","datediff"]},"locale":"en-US","user_id":"000000000000000000000000","user_hid":0,"user_name":"","user_nick":"","user_avatar":null,"is_member":false,"settings":{"can_access_acp":false,"can_use_dialogs":false,"hide_heavy_content":false},"unread_dialogs":false,"footer":{"rules":{"to":"common.rules"},"contacts":{"to":"rco-nodeca.contacts"}},"navbar":{"tracker":{"to":"users.tracker","autoselect":false,"priority":10},"forum":{"to":"forum.index"},"blogs":{"to":"blogs.index"},"clubs":{"to":"clubs.index"},"market":{"to":"market.index.buy"}},"recaptcha":{"public_key":"6LcyTs0dAAAAADW_1wxPfl0IHuXxBG7vMSSX26Z4"},"layout":"common.layout"}