Тяга двигателя - двс: статистика

ДедЮз
Gefi:

Все во то!

Моделисты, все воспринимают на лету, т.к. практики, а курсантам нужно расжевывать и в рот положить. Вся разница в информационном обмене. Видел дипломников авиационного вуза, которые у моделистов спрашивали про функции органов управления и терминологию ЛА. Поэтому не удивляйтесь реакции некоторых “читателей-писателей”.

Батька-Л

А-а-а-а-а-а-а-а-а…
Крик души… Сколько уже было сказано по этому поводу…
Можно подъитожу всех? В цифрах.

Если бы на видео #465 замерили тем же безменом силу, которая создаётся трением качения (просто прокатили бы модель безменом по тому же двору), уверен, что мы бы увидели цифры порядка 100-150 грамм. Если не меньше…
Итак, имеем потерю 1-1,5% от тяги ВМГ за счёт трения качения (если не ошибаюсь, на видео прозвучала максимальная цифра – 9 кг). Т.е. - вообще ни о чём…

Теперь по углам.
Чуть поискал:
Товарищ подобрал данные по стояночным углам (именно под таким углом приложена тяга ВМУ к горизонту, в котором происходит измерение тяги):
«…Озадачился вопросом выбора стояночного угла модели. … Перемерил кучу чертежей (более-менее подходящих из имеющихся у меня в наличии)…»
:aviamodelka.ru/forum/index.php?showtopic=920&mode=…

Из его таблицы имеем от 1 до 12 градусов… Свойство косинуса при малых углах таково, что угол практически не влияет на вычисляемую величину. Таблицы Брадиса (нам в помощь) дают при cos=15 град почти 1,0000: 0,9659. Меньше угол – соответственно величина отклонения cos от единицы тоже меньше.
Т.о. и здесь мы имеем ошибку ещё в среднем 2-3 %.

Итого в сумме в любом случае меньше 5%. Это весьма малая величина. Лично я был бы рад, если бы любые мои расчёты, касаемо чего-либо (вообще - чего угодно по жизни) укладывались в такую ошибку.

Так что ещё раз подтверждаю выводы форумчан ДедЮз, Ясон, Gefi и многих других

  • безмен нам в руки!!! Точности за глаза.

Прошу прощения за объём…

А в продолжении темы, я бы хотел видеть здесь практические данные по ВМУ. А то взять пост #461: мотор-винт-вес модели, а тяги то где??? Да и обороты не помешали бы…

ДедЮз

Такой простенький стенд “на столе” дает точнейшие показания. От прочности конструкции зависит какие моторы испытывать. Сделали для поликоптеров.
Для определения динамической тяги в движении можно сорудить подобие аэродинамической карусели с тарированным тормозным устройством.

Alx1m1k
ДедЮз:

Такой простенький стенд “на столе” дает точнейшие показания.

А “погрешность плеча” чему будет равно(в %)(плечо-расстояние от безмена до компенсац.груза)?

Батька-Л

Ну, раз уж пошло развитие темы в направлении типов стендов, хочу вернуться к методике, изложенной в посте #472, только гораздо проще: модель вывешивается на тонких пластинах, минимум двух, которые не дают модели никакой свободы перемещения, кроме как по оси ВМУ. Причём усилие на изгиб этих пластин - граммы. Единственное условие данного метода: рабочий ход штока/тяги измерительного устройства не должен быть больше перемещения концов пластин, за которым усилие на изгиб пластин начинает вносить погрешность в результаты измерения. Пьезодатчики, тензодатчики тут рулят, но это в серьёзных лабораториях. При небольшом ходе штока безмена всё сработает и здесь.
Правда, данный метод идеален для измерения тяги ПВРД, реактивных, ракетных двигателей по понятным причинам – у нас эти пластины в потоке от ВМУ дадут несколько искажённую картину… Так что повторюсь: безмен!

Батька-Л

Пост №456 формула тяги: там обороты в квадрате (уменьшаем), а диаметр в четвёртой степени (увеличиваем) - вот и прирост тяги.

ДедЮз
Батька-Л:

Правда, данный метод идеален для измерения тяги ПВРД, реактивных, ракетных двигателей по понятным причинам

Вы видели ВЖИВУЮ стенды для ЖРД или ВРД? Горазда проще и “никого” не вешают, приблизительно то же и для ВМУ, только размерами и комплексом ТБ и отличаются.

Игорь555
Батька-Л:

А то взять пост #461: мотор-винт-вес модели, а тяги то где??? Да и обороты не помешали бы…

Сергей , Во первых я выложил данные по своим моторам ,которыми располагал , а во вторых не у всех есть возможность замерить обороты( у меня нет да и ни к чему ,всю жизнь настраиваю на слух ,а в паспорте ориентировочно даны данные по оборотам и мощности).При чем с разными винтами будут разные обороты ,и в третих мало кто мерит тягу ,(я всегда использую только полетный вес модели для подборки мотора,это уже жизненная практика). А если хочется добавить тяги " играю " с винтами.
Вот почему я затронул вопрос по формулировке - взлетный вес модели и тяга мотора…это как земля и небо…хотя в принципе моделисты понимают о чем в принципе реч ,но для конкректики эти понятия надо бы разделять для ясности дела.

Батька-Л:

А в продолжении темы, я бы хотел видеть здесь практические данные по ВМУ

И каждый выкладывает здесь данные которыми располагает ,и ни кто не побежит сейчас мерить все параметры,а тем более покупать необходимое, что бы это замерить. Просто собираете данные по интересующему для вас мотору из всех публикаций и выводите для себя среднию арифметическую или в личку списывайтесь с автором может он даст для вас более исчерпывающую информацию…А если боитесь что не полетит просто берите следующий в линейке этой марки мотор,вот вам запас с гаком.

Батька-Л
ДедЮз:

Вы видели ВЖИВУЮ стенды для ЖРД или ВРД?

Представьте себе. Правда, только как наблюдатель. Стенд для отработки ПВРД. Давно это было… Подвес именно такой, только пластин - пакет. Очень тонких, чтобы снизить жёсткость этого подвеса до минимума…

Игорь555:

мало кто мерит тягу ,(я всегда использую только полетный вес модели для подборки мотора,это уже жизненная практика)

Как-то ни фига не понятно! Неужели не хочется ещё до первого полёта, или после замены винта, топлива, да ещё чего угодно, влияющего на полёт, сравнить то, что получилось - (модель/взлётный вес) с тем что имеем - тяга ВМУ! Это же та ПЕЧКА, от которой приходится танцевать. А " играть " с винтами - это уже следующий этап. Так что отказ от получения нужной информации, причём с минимальными затратами (всего то лишь - стянуть у жены безмен, чтобы не заметила😁), считаю неправильным. Опыт у меня в моделизме не большой, но думаю, что это не только моё мнение.

pakhomov4

ПВРД -прямоточный воздушно-реактивный двигатель… Какие “пластины”? Куды подкладываем? Чума…

Игорь555

Для тех кто хочет мерить тягу мотора ,аналогично можно и применить и для Двс ,как вариант(разработал Вадим Корсунов)

Батька-Л
pakhomov4:

ПВРД -прямоточный воздушно-реактивный двигатель… Какие “пластины”? Куды подкладываем? Чума…

Ну да. И тяги он не даёт, а так, воздух только из баллонов под 100 атм засасывает и всё…
Что-то про подкладывание пластин я у себя не увидел…
--------------------------------------------------------------------------------------------------
Вываливаемся из темы…

Батька-Л

Ну что же, интересно. Надеюсь кто-нибудь “разжуёт”…
Попробуйте в этой программе. Когда-то оставил у себя ссылку. Работает. При открытии будет писать, что типа программа может содержать опасное и т.д. и т.п. - открываем:
gir1955.narod.ru/VINTNEW.xls

ДедЮз
Игорь555:

Для тех кто хочет мерить тягу мотора ,аналогично можно и применить и для Двс ,как вариант(разработал Вадим Корсунов)

Вес мотора, безмена, штанги - чем компенсируются?

Все эти калькуляторы, при незнании языка и точной терминологии могут медвежью услугу оказать, есть классические расчеты, исходя из них можно рассчитать параметры с высокой степенью точности. Кроме мощности и оборотов, нужно задаваться скоростным параметром, в сравниваемых вариантах, если скорость одинаковая, то разница будет в тяге, если диаметры одинаковые, можно получить доп. скоростной напор (увеличить шаг).

pakhomov4

“Стенд для отработки ПВРД. Давно это было… Подвес именно такой, только пластин - пакет. Очень тонких, чтобы снизить жёсткость этого подвеса до минимума…”
Срисовано…

ДедЮз

Cпециально для Садыка. N=Mкр*n/9549 кВт. Где: N - мощность в кВт; Mкр - крутящий момент в Нм (Ньютонометры); n - обороты в минуту. 1Нм=0,101972 кГ; 1кГ=9,806652Н.

pakhomov4:

Стенд для отработки ПВРД

Стенды были в институте (Люльковские) позже видел в Днепре и Перми. “Наземные” конструкции, без подвесок, типа гор.весы с кампенсаторами погрешностей и приборными стендами управления на приличном расстоянии. Все это в мощных копонирах с бетонными отбойниками и каналами. Кто, где и как данные снимал, не видел (в блатэкскурсию не входило). Шум при испытаниях, слышал из гостиницы.

P.S. Было бы полезно на основании данных фирм-изготовителей винтов и моторов нарисовать НОМОГРАММУ в системе МОЩНОСТЬ-ОБОРОТЫ-ДИАМЕТР-ШАГ. Это будет не панацея, но для первого приближения очень подойдет.

Батька-Л
pakhomov4:

“Стенд для отработки ПВРД. Давно это было… Подвес именно такой, только пластин - пакет. Очень тонких, чтобы снизить жёсткость этого подвеса до минимума…” Срисовано…

  • пост #508:
    вот умеете Вы, господин Пахомов, завести людей…:
    ТУДА я, конечно, сейчас уже попасть не могу, так что без фото придётся обойтись. Нашлось похожее. Принцип действия приблизительно такой, только “гибкие ленты 8” крепились сверху (большой рояли не играет):

www.findpatent.ru/patent/226/2261425.html

Картинку можно увеличить:
img.findpatent.ru/820/8200196.gif
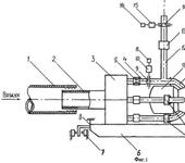
На фиг.1 изображена схема предлагаемого стенда для испытания прямоточных воздушно-реактивных двигателей.
Заявляемый стенд для испытания прямоточных воздушно-реактивных двигателей состоит из … динамоплатформы 6 с силоизмерительным устройством 7, установленной на гибких лентах 8.
---------------------------------------------
Надеюсь, удовлетворил? И, наверное, пора закончить с этим, пока нас не “прикрыли” за срач.

Лучше по посту #502 что-нибудь дельное скажите. А то получается, что и нельзя ими (калькуляторами) пользоваться?:

ДедЮз:

Все эти калькуляторы, при незнании языка и точной терминологии могут медвежью услугу оказать, есть классические расчеты, исходя из них можно рассчитать параметры с высокой степенью точности.

ДедЮз

Cтенд похож на виденные (ленты-шарниры) не застряли в памяти, но принцип гор. весы. Что можно по калькулятору сказать, если “нихт фрштейн”. Давайте исходные данные, так просчитаю.
По картинке стенда, что еще? Это заявочный эскиз к патенту, интересно увидеть все в этом классе, наверно идей много и разнообразных. Главное, чтобы было удобно в эксплуатации и надежно по точности. Люльковские стенды были в бетонных ямах с рельсами и тяжелыми платформами, остальное было к 62 году демонтировано.

Игорь555
ДедЮз:

Вес мотора, безмена, штанги - чем компенсируются?

Ни чем, вернее мы просто теоретически знаем что мотор тянет себя N-ое кол-во грамм +вес штока(оснаски) ,но это около10% от полученного результата измерения…фактически это похоже на вашу конструкцию. Еще народ мерит на настольных электр. весах закрепив мотор на треноге.

ДедЮз
Батька-Л:

Лучше по посту #502 что-нибудь дельное скажите.

Прогуглил термины, начал считать. Ошибка всплыла сразу. Во втором столбце шаг должен быть 8,4 вместо 13, а диаметр 21,7 вместо 18.
Далее,посчитал тягу по вводным, в первом столбце13,7 кг, во втором 8,22 при скоростном напоре в обеих вариантах 96 км/час.

Батька-Л
ДедЮз:

Это заявочный эскиз к патенту, интересно увидеть все в этом классе, наверно идей много и разнообразных. Главное, чтобы было удобно в эксплуатации и надежно по точности. Люльковские стенды были в бетонных ямах с рельсами и тяжелыми платформами, остальное было к 62 году демонтировано.

Да, собственно, всё, что нам может оказаться полезным, уже сказано и показано. Я пытался донести до народа, что и такой принцип замера тяги существует (несомненно, существуют и другие, тем более, что наука не стоит на месте). Такой способ тоже имеет право на существование и его можно использовать в модельном деле.
Да, собственно, патент то не на принцип замера тяги. Там другое, если почитать. Пример привёл по поводу лент…